Sicherheitsvorreiber
Sicherheitsvorreiber
Stangenführung für Rundstangen 8 mm, Polyamid GF kieselgrau
Stangenführung für Rundstangen 8 mm, Polyamid GF kieselgrau

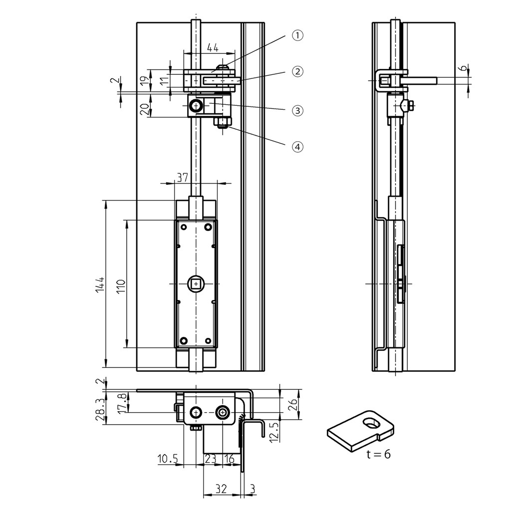
Stangenschloss links für druckfester Beschlag, Rundstangen und Vierkantstangen Hub 18, Stahl verzinkt; 1001-U10

https://www.emka.com/products/1001-u10 https://www.emka.com/web/image/product.template/206540/image_1920?unique=4d05634

Verschluss-Systeme für hohe Belastungen


    Diese Kombination existiert nicht.

    Innerhalb der Dichtung Links


    Produkthinweis:

    1 = Gabelteil

    2 = Verschlusstück

    3 = Verbinder

    4 = Schließbolzen
    Interne Referenz: 1001-U10
    Barcode: 1001-U00010-0000000
    Produktart: Stangenschloss
    Programm: 1001
    Katalogblatt: 2B-180
    Material der Baugruppe : Stahl
    Oberfläche der Baugruppe: verzinkt
    A-Maß: A 20
    Anschlussstange: Rundstange,Vierkantstange,Rundstange mit druckfester Beschlag
    Anschlussstangen-Aufnahme: Innen-Gewinde M8 x 20
    Einbauposition : Innerhalb der Dichtung
    Schloss für höhere Belastung: Ja
    Türanschlag : Links
    No Specifications
    Alle Produkte anzeigen
    Anschlussstange
    Stangenschloss Zubehör
    Betätigung
    Gehäuse
    Hier finden Sie die Produktdatenblätter und CAD-Dateien zu diesem Produkt